Patentes Solicitud : CU P/1/033413
Tipo de solicitud
Patente DL805/36
Subtipo de solicitud
Patente
(10) N°. Registro y Fecha de registro
P20674 1977.09.16
Estado Legal
Expirada
(20) N°. Expediente y Fecha de presentación
CU P/1/033413 1969.10.03
(40) Fecha Publicación
1971.08.06
(86) N°. Solicitud PCT y fecha
(87) N°. publicación PCT y fecha
(85) Fecha presentación nacional
(30) Detalles de prioridad
DE WP 21E/140 811
1969.07.27
(51) IPC Clases
(71/73) Nombre del solicitante
KOMBINAT VEB STRARKSTROM- ANLAGENBAU LEIPZIG-HALLE : 701 Leipzig, Humboldstrasse 2a, Alemania
(72) Inventor
Schnabel, Hans : Alemania
(74) Nombre representante
González y Rodríguez, Adolfo : CU
(54) Título
SISTEMA PARA CONTROL DE CORRIENTE DIRECTAS, ESPECIALMENTE PARA INSTALACIONES PARA CARGA DE ACUMULADORES
(57) Resumen
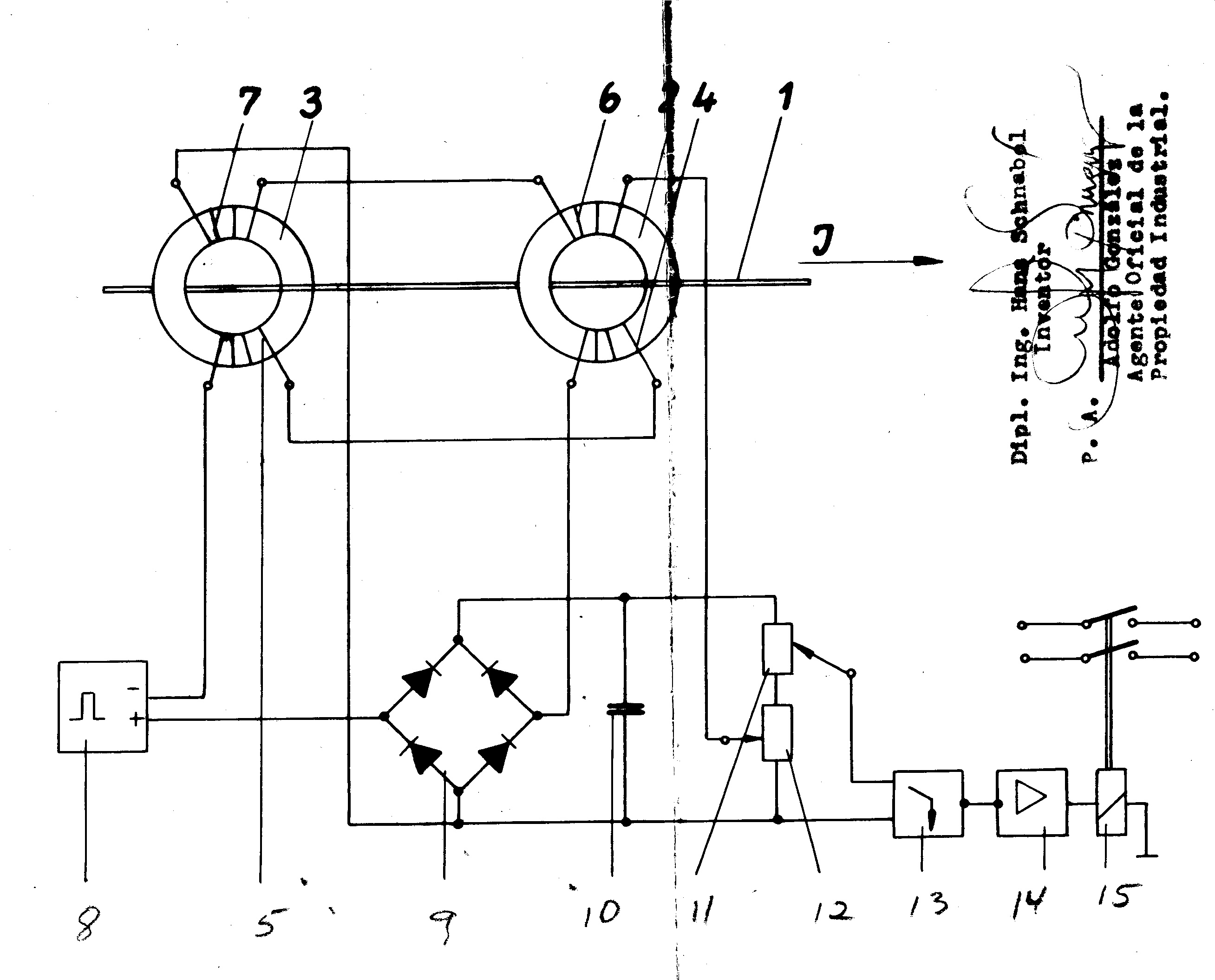
Sistema para control de corriente directas, especialmente para instalaciones para carga de acumuladores, consistente en uno o más núcleos de imán, de material ferromagnético, con un enrollado de entrada que atraviesa la corriente controlada, de un enrollado de imantación que va conectado, por la entrada de voltaje alterno de un puente rectificador en acoplamiento de Graetz, con la salida de un generador de impulsos, y de un enrollado de acoplamiento de reacción que, mediante una resistencia graduable, va conectado con la salida de voltaje directo del puente Graez y rectificador caracterizado, de este modo, porque el generador de impulsos es en sí un generador de onda rectangular porque los enrollados de acoplamiento de reacción están montados de tal modo que su flujo magnético tiene el mismo sentido que el del conductor de corriente directa, y porque como indicador de voltaje se utiliza uno Schmitt-Trigger.
(58) Citaciones
Dibujos
DRAWINGS_1_CUP1033413
Tipo de documento Fecha Acción
Estado LegalFecha
Presentada 1969.10.03
Registrada 1977.09.16
Publicada 1971.08.06
Expirada 2009.02.26
Aplicación/Prioridad Presentación/Fechadeentradanacional Publicaciones SolicitudPCT

Loading..